Cronología |
|||||||||
AÑO |
1910 |
1915 |
1916 |
1916 |
1921 |
1928 |
1930 |
1934 |
1935 |
![]() |
![]() |
![]() |
![]() |
![]() |
![]() |
![]() |
![]() |
![]() |
|
DESCRIP-CIÓN |
Audion de Lee de Forest |
TM Europea, bateria 4 pines |
R Type -Version Británica de la TM |
Lee de Forest fabrica el audion con forma tubular |
Europea 4 pines |
Europea 4 y 5 pines |
Americana 4 a 7 pines |
Transconti. serie dorada 8 pines |
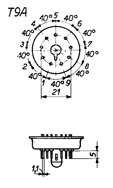
Americana de 9 pines |
TIPO |
DV5 |
A410 |
TE-47 |
6B7 |
TCK1 |
6J7 |
|||
BASE |
B4, PX4 |
B5,PX5 |
SM7 |
P, 8SC |
T9A,B9G |
||||
Doble clik sobre el dibujo para verlo mejor |
![]() |
![]() |
![]() |
![]() |
![]() |
||||
AÑO |
1936 |
1937 |
1938 |
1939 |
1939 |
1939/1949 |
1948 |
1950-1960 |
1955 |
![]() |
![]() |
![]() |
![]() |
![]() |
![]() |
![]() |
![]() |
![]() |
|
DESCRIPCIÓN |
Octal |
12P2000 |
valvula de metal |
Transco. serie roja |
Loctal |
Miniatura |
Rimlock |
Subminiatura |
Noval |
TIPO |
6EH6 |
12P2000 |
ECH11 |
ECH3 |
ECH21 |
DL94 |
ECH42 |
CLK6008 |
ECH81 |
BASE |
MO8 |
Side contact S8B |
G8A |
P, P8A |
W8A |
B7G |
A8A,B8A |
B9A |
|
Doble clik sobre el dibujo para verlo mejor |
|||||||||
AÑO |
1959 |
||||||||
![]() |
|||||||||
DESCRIP-CIÓN |
|||||||||
TIPO |
Nuvistor |
||||||||
BASE |
Especial |
||||||||
Doble clik sobre el dibujo para verlo mejor |
![]() |
||||||||
| Menú Principal |